分類

特 點 Features
● 體積小,性價比高。Small size, high cost performance.
● 壓降<1V。The voltage drop is less than 1V.
● 電流10A至1000A。The current is 10a to 1000A.
● 金屬殼體采用鍍鎳鋼板和不銹鋼大蓋板組合式結構,美觀大氣,機械強度高,耐腐蝕性強。
The metal shell adopts the combined structure of nickel plated steel plate and stainless steel large cover plate, which is beautiful and atmospheric, with high mechanical strength and strong corrosion resistance.
應 用 Application
● 電波暗室、屏蔽房、電子方艙和機柜等設施的專用配套,能有效的抑制輻射干擾。The special supporting facilities of anechoic chamber, shielding room, electronic shelter and cabinet can effectively suppress radiation interference.
性能指標 Characteristcs
額定電壓Rated voltage | 250VAC | 500VDC |
工作頻率 Operating Frequency | 0~60HZ | |
耐壓試驗 Test Voltage | 1000VDC/2S(線-地Line - ground) 3000VDC/2S | |
電壓降△V Voltage drop | <1V(額定工作條件Rated working conditions) | |
氣候類別 Climate category | 25/070/21 | |
產品型號表 Filter Table
型號 model | 額定電流A Rated curren | 波導螺桿 Waveguide screw | 導線 wire | 外形尺寸Fig. Outline Drawing | 插入損耗dB insertion loss |
YX-10C-F | 10 | M16 | 14AWG | 1 | 100dB 備注:可拓展至40GHz |
YX-16C-F | 16 | M16 | 12AWG | 1 | |
YX-32C-F | 32 | M24 | 10AWG | 2 | |
YX-50C-F | 50 | M24 | 8AWG | 2 | |
YX-65C-F | 65 | M24 | 6AWG | 2 | |
YX-80C-F | 80 | M24 | 6AWG | 3 | |
YX-100C-F | 100 | M24 | 4AWG | 3 | |
YX-150C-F | 150 | M24 | 2AWG | 3 | |
YX-200C-F | 200 | M33 | 1/0AWG | 4 | |
YX-250C-F | 250 | M33 | 70mm2 | 4 | |
YX-300C-F | 300 | M33 | 95mm2 | 4 | |
YX-400C-F | 400 | M42 | 25×6 | 5 | |
YX-500C-F | 500 | M42 | 25×6 | 5 | |
YX-600C-F | 600 | M48 | 30×8 | 6 | |
YX-800C-F | 800 | M48 | 30×8 | 6 | |
YX-1000C-F | 1000 | M72 | 50×10 | 7 |
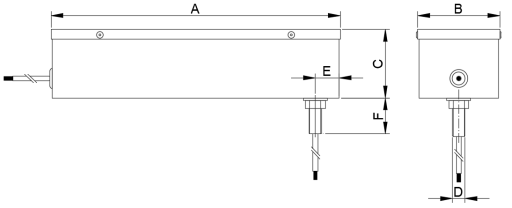
外形尺寸圖 Outline Drawing : mm
Fig.1~Fig.3(10A~150A)

Fig.4 (200A~300A)

Fig.5~Fig.7 (400A~1000A)

外形尺寸Fig. | A | B | C | D | E | F | G | H | I | J | K | L |
1 | 363 | 103 | 86 | M16 | 30 | 45 | / | / | / | / | / | / |
2 | 363 | 133 | 101 | M24 | 30 | 45 | / | / | / | / | / | / |
3 | 523 | 133 | 101 | M24 | 30 | 45 | / | / | / | / | / | / |
5 | 883 | 153 | 151 | M42 | 90 | 10 | 845 | 920 | 60 | 45 | 6 | 25 |
6 | 883 | 153 | 221 | M48 | 90 | 10 | 845 | 920 | 60 | 65 | 8 | 30 |
7 | 933 | 153 | 266 | M72 | 110 | 10 | 865 | 960 | 80 | 95 | 10 | 50 |
CopyRight ? 2026 常州市宇軒電子有限公司 版權所有 蘇ICP備2022034447號-1 網站地圖 所有標簽 免責聲明 中環互聯網常州網站建設